A huge congratulations to Taiwon ‘Zye’ Ham for their essay entitle ’Can you draw every flag in Powerpoint?’ which has been awarded first prize in the adult (over-18) category for the 2025 Tom Rocks Maths Essay Competition.
“Reading Zye’s essay I just can’t help but be excited – the passion for learning leaps out from the page! It’s equal parts ridiculous and brilliant, with well-designed exercises and illustrations throughout which really aid the reader’s understanding. The fact that not only has the author drawn all of the flags themselves, but has taken the time to share the learning process whilst doing so, is what makes this essay such an excellent example of mathematics communication. As the reader, you cannot help but try the exercises for yourself, and if you’re anything like me, several hours have passed in a blur of Powerpoint slides and looking at flags in far more detail than you ever thought possible. A truly outstanding piece of mathematics – well done Zye!”
Zye’s essay will be published on the university website, and they will receive a free place on one of the Oxford Lifelong Learning online courses – the full list of which can be found at the link below.
197 flags. We draw all of them in PowerPoint. Or die trying.
1. Problem Specification
Flags
How many nations are there in the world? What are their official flags? These questions are oftentimes central to serious cultural and political dispute. Unfortunately I cannot resolve all conflicts around the globe within the span of this essay, so I took a layperson’s approach: The nations and flags present in Sporcle’s “Flags of the World” quiz are considered to be canon.
Tools
Although the first page says PowerPoint for brevity, our actual drawing tool is Google Slides. Google Slides has the advantage of being free and on the web, so it’s easier to try the instructions yourself. Most instructions in this essay are performable in both programs.
This essay is interactive, meaning it contains some exercises for you. I recommend you open a blank presentation slide now and play with it as you read. If you get stuck, you can find the answers to exercises in the link below.
How do we know if we’ve drawn a flag correctly? Who will judge us?
There can be multiple ways to define how a flag should look. For example, the design of the flag of the United Kingdom was described in 1801 as follows:
Azure, the Crosses Saltires of St. Andrew and St. Patrick quarterly per saltire, counterchanged argent and gules; the latter fimbriated of the second, surmounted by the Cross of St. George of the third, fimbriated as the Saltire.
– Description of the Union Flag, 1801
saltire: diagonal cross argent: white gules: red fimbriated: outlined of the n-th: the n-th color that appeared in the description
Though this classy display of words gives me — and probably you — an urge to learn heraldry, it does not contain the specific dimensions of the flag. What we need is an exact construction sheet. For instance, the following design is an accurate representation of the Union Flag, approved by the Garter King of Arms:
We will use official specifications like these to draw our flags, if they are provided. Fortunately, the hardworking people at Wikipedia have gathered a lot of these diagrams. If you go to any ‘Flag of [country]’ article on Wikipedia, there’s usually an image attached showing the construction sheet, or at least the best proportions deduced from official images and laws.
Exercise 0.
Search the flag of your country (or any country of your interest) in Wikipedia. Is there a construction sheet? Does it teach you something new about the flag?
Now for the most important part. What features in Google Slides may we use to draw?
To answer this question, we refer to a time-honored mathematical amusement called straightedge-and-compass construction. This field of geometry basically asks what shapes you can draw by using a straight stick, a compass, and nothing else.
Here are some important philosophies behind straightedge-and-compass construction:
Perfect tools: Assume that the lines drawn with the stick are perfectly straight, and the circles drawn with the compass are perfectly circular.
No eyeballing: If you’re meant to draw a square, you need to draw a mathematically perfect square. You can’t just draw a shape that looks like a square.
No measuring: The stick does not have any length markings. You cannot use it like a ruler.
We’ll use these as references.
For our challenge, the basic philosophies are:
(a) Perfect tools: Assume that the shapes in Google Slides are perfect. For instance, select the Oval shape. Hold shift and drag on the slide. We assume the resulting shape to be a perfect circle. We ignore the fact that your monitor has square pixels, or that your computer can’t perform infinitely precise calculations.
(b) No eyeballing: We can’t just draw a blue, white, and red rectangle and call it France. The proportions of the flag have to be mathematically exact.
(c) No measuring: We can’t input numbers while drawing. For instance, we’re not allowed to right-click a shape, go to Format options, and then set the Width and Height of the shape to some exact centimeter values. These guidelines are a bit abstract, but you’ll probably get the gist of it as you get used to Google Slides. The following exercise deals with some key features of the program.
2. The Warp and Weft
In exercise 1.4, you needed to draw an oval with an aspect ratio of 2:1 — that’s the ratio of its width to its height. One way to do this is the following:
Draw a square.
Copy it by holding ctrl and dragging it.
Drag the copied square to the right of the original square. If you bring it close enough, it ‘snaps’ to the original square. The two squares combined form a shape with an aspect ratio of 2:1.
Draw an Oval.
Drag the corners of the oval to the corners of the two squares combined. This ‘snaps’ the corners of the shapes.
Take note of the steps (c) and (e). In both steps, you ‘snap’ a shape to something else. According to our philosophy, when Google Slides — our perfect tool — performs these snaps, the result is mathematically exact. So given a square, we can create a shape with double the length. But is that all we can make?
Theorem 1. Given a square with length 1, we can create a rectangle with width n and height 1 for all positive integers n.
Proof. Just do the same process as above but snap n squares together. □
One may laugh at using such bold words as theorems in an essay about Powerpoint vexillology, but this is serious business. Since this can be applied for heights as well, we also have:
Theorem 2. Given a square with length 1, we can create a rectangle with width w and height h for any two positive integers w and h.
Proof. Snap w squares together horizontally, and h squares together vertically. Draw a new rectangle and set its width and height to equal the combined w and h squares, respectively.
With this method, we can create any flag that consists solely of rectangles (if all proportions are integers)! Let’s try drawing a few easy flags.
France. Aspect ratio 3:2. There are three vertical stripes. Draw 6 identical squares (3×2) and color them.
Germany. Aspect ratio 5:3. There are three horizontal stripes. Draw 15 identical squares (5×3) and color them.
Switzerland. Aspect ratio 1:1. Divide the flag in ratios 6:7:6:7:6 to form the Swiss cross. Create rectangles of 6×6, 6×7, 7×6, and 7×7 and arrange accordingly.
It’s easy to see which flags are constructible this way. All of them are listed below.
We cleared 45 out of the 197 flags rather quickly — about 22% done! Some flags like Greece or Tonga are trickier, but not by much. While we celebrate reaching this first milestone, let me set something up real quick.
Definition. A square with length 1 is called a unit square.
Definition. Suppose we have a unit square. A number x is constructible if, and only if, we can create a square with length x.
So for example, 10 is a constructible number. From our theorems we can also say, “All numbers in ℕ are constructible,” where ℕ is the set of all natural numbers (non-negative integers).
Note that exercise 2.4 is not trivial. You can draw a square five times as long as another with our previous method, but not the other way around. For exercise 2.4, you need to use features like multi-select (Group) or Distribute. While you try that, I need to talk about the elephant in the room.
3. The Elephant in the Flag
There is an obvious problem with our goal: Emblems. We may be able to draw some simple shapes, but how would we ever draw the coat of arms in the flag of Spain, the dragon in the flag of Bhutan, or an actual elephant such as the one to the right?
That’s the flag of 19th century Siam (now Thailand), by the way. Anyway, how would we ever draw an actual drawing in Google Slides?
Well, I have an idea. An emblem simply has to “resemble” the official one to count as correct, if the official specification never mentions its exact dimensions. For example, the Spanish coat of arms is not defined by math, but by descriptions like “a standing purple lion in the top-right quadrant,” which leads to many valid interpretations.
I don’t know which international committee on Google Slide flag designs will be judging us, but what’s important is that whoever is judging, there will be some margin of error allowed — since there is no exact answer to begin with. Then, drawing such a flag becomes a trivial problem for a mathematician: We simply hire an artist good enough to satisfy that judge. No math required!
No matter how small the allowed margin of error (ε) is, there exists a level of artistry (X) such that all artists on that level or higher can draw a flag (f(x)) whose difference with the original flag (α) is below that margin of error.
No matter what ε is (ε > 0), there exists an X > 0 such that whenever x ≥ X, we have |f(x) − α| < ε.
As x → ∞, lim f(x) = α.
I call this the Definition of an artist’s limit.
By taking advantage of massive loopholes in heraldry (not that I feel good about it), we’ve cleared another big chunk of flags. Now, we can draw any flag consisting of rectangles and any mathematically ambiguous drawings!
(Diagram, page 9)
That’s 46 out of the remaining 152 flags — about 46% of the job done! Some flags — ones with asterisks — seem to have mathematically describable elements but don’t have enough specifications. Other than that, constructing the rectangular parts of these flags is pretty standard.
4. Breakthroughs
Here are two possible answers to exercise 2.4 — How to draw a one fifth-long square.
It should be easy to draw any square with length 1/𝑛 using this method, for all integers 𝑛. Combined with the theorems from Chapter 2, we can draw any square with length 𝑚/𝑛 where 𝑚 and 𝑛 are integers. In other words, we can say “all numbers in ℚ are constructible,” where ℚ is the set of all rational numbers.
Rational numbers also include negative numbers like −0.5, but that’s okay — refer to exercise 2.1.
Now let’s find out what other numbers are constructible.
For instance, what about √2 ? The diagonal of a 1×1 square is √2.
So let’s try rotating the unit square. If you hold Shift while rotating, the angle of the shape ‘snaps’ to multiples of 15 degrees (π/12 radians).
Since we never input any number for this, our philosophy considers this a valid move.
After the 45° rotation, we can draw a new square and ‘snap’ its sides to the two corners.
So √2 joins the party!
Now we can make a square with length 3√2, or √5, or 100√2 − 70.
We can even make ½ since that is just equal to 1 ÷ 2.
So, we can construct any number made by using addition, subtraction, multiplication and division on [rational numbers and √2].
In algebra, the set of all such numbers is denoted ℚ(√2). Thus: “All numbers in ℚ(√2) are constructible.”
We have adjoined √2 to ℚ, in mathematic terms.
Next up is √3. This time we rotate the unit square by 30 degrees and use some trigonometry. ( The red triangles are unnecessary in the actual construction. )
After obtaining ½ + √3/2, you can easily double the length and subtract 1 to obtain √3. “The set of numbers made by adding, subtracting, multiplying and dividing [rational numbers, √2 and √3]” is denoted ℚ(√2, √3) in algebra. But hold your horses before saying “all numbers in ℚ(√2, √3) are constructible,” because there’s a small problem: ℚ(√2, √3) includes √2×√3 too, which is √6. So we first have to ask: can we make √6 in Google Slides?
There are a few ways to handle that question. The first one requires more trigonometry:
Exercise 4.1. Calculate sin 15° and cos 15° to prove that √6 is constructible.
Somehow, turning the unit square by 15 degrees is the solution.
But that feels a bit like a hack, doesn’t it?
Can’t we just make √6 using the two squares with length √2 and √3 ?
That is indeed possible, using a method that generalizes to any two numbers.
Theorem 3. If 𝑎 and 𝑏 are constructible, then 𝑎𝑏 is also constructible.
Proof. Suppose we had a unit square, and we created two squares with lengths 𝑎 and 𝑏. Then we can do the following:
Exercise 4.2. Prove that if 𝑎 is constructible, then 1/𝑎 is also constructible ( 𝑎 ≠ 0 ). Tip: First, think of the case when 𝑎 > 1.
This is a major breakthrough. We found a property that applies to everything:
If 𝑎 and 𝑏 are constructible, then 𝑎 + 𝑏, 𝑎 − 𝑏, 𝑎𝑏, and 𝑎/𝑏 ( when 𝑏 ≠ 0 ) are all constructible.
In algebra, there’s a fancy word for this: “The set of constructible numbers is a field.”
We’ve attained this without even knowing what other irrational numbers are constructible!
That’s nice — but it’s been too long since we drew a flag. Let’s return to that.
5. Roadblocks
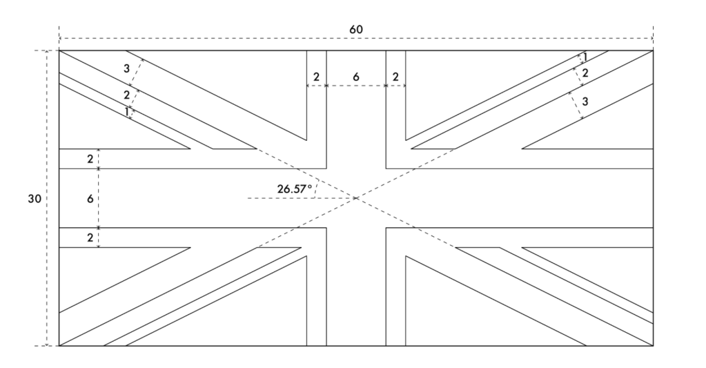
I’m beginning to realise I’m well above the word count I originally envisioned, but it’s too late to stop now. You can’t stop either — because how could you stop without even drawing the flag of the United Kingdom?
The only non-trivial part of this design is the diagonal stripes. The widths of the stripes are integers, so can’t we just draw some rectangles and rotate them? No — because the angle of rotation is not a multiple of 15 degrees. Instead, we’ll need to use Right Triangles and overlap them to make it look like stripes.
For example, the top-left quadrant would be drawn like the figure above. Each triangle has a width-to-height ratio of 2 : 1, and the differences between the widths of triangles are multiples of √5 by the Pythagorean theorem. Conversely, if we manage to construct √5, we would be able to draw the entire flag. So, can we construct ?
Exercise 5. 5.1 Euclid’s first postulate states that we can always draw a line from any point to any point. Can Google Slides do the same? Draw some shapes like a Rectangle, an Oval, and a 5-Point Star. Next, select the Line tool and hover over the shapes. Which points are highlighted? Do the endpoints of the Line ‘snap’?
5.2 Draw a Line segment that is √5 units long, only using the highlighted points of some unit squares. Try the same thing with square roots of different numbers.
5.3 After exercise 5.2, is it possible to draw a Rectangle with a width of √5 ?
Exercise 5.3 is very important. If we have a Line of some length, can we draw a Rectangle whose width is equal to that?
If that were possible, then we would be able to construct not just √5 but a square root of any integer.
However, this is not trivial, because once you complete exercise 5.2, you get a slanted line segment, and there is no way to rotate the line into a horizontal one.
I encourage you to try solving exercise 5.3 for at least five minutes. It seems like it should be doable, but it’s not easy at all.
In fact, I couldn’t find a way to construct root 5 or any other square roots of [prime numbers greater than 5] with this method after days of trying! Here are some of the attempts that didn’t work.
As far as my research goes, there is no foreseeable way to construct square roots of [prime numbers greater than 5] in google slides. Thus I leave this as an open problem:
Q. Which square roots of integers are constructible numbers?
For now, I will assume — with great regret — that all square roots of primes greater than 5 are not constructible. There are some flags that use such numbers in the construction, so the answer to the title of this essay is a No for now. At least, we can show which flags we cannot draw, and what square roots we need in order to draw them:
That’s 17 flags we give up on drawing, so our goal of 197 total flags now becomes 180. Some flags with asterisks have no visible slanted stripes, but there are square roots hidden in their construction — believe me, I tried hard to draw each of them.
On a brighter note, have you noticed that we never marked Czechia as a ‘drawable’ flag even though we drew it in exercise 2.2? That’s because I first had to explain why some flags with triangles are doable and some aren’t. But now that’s done!
Here are all the flags with squares, triangles, and circles, with no square roots in the construction. (Notably, the crescent in the flag of Maldives is just a green circle partially covering a white circle.)
That’s 20 flags, so the amount of flags constructed is 111 out of 180. We are 62% done.
6. Reach for the Stars
I’m getting close to the 3,500-word mark and I should definitely stop.
Even the premise of this essay is meaningless now because I had to give up on all those square roots!
But you know what I haven’t given up on? The glorious flag of the United Kingdom.
Theorem 4. √5 is a constructible number.
Proof. The ratio between a regular pentagon’s side and its diagonal is 1 to the golden ratio (ϕ = (√5 + 1)/2). Suppose we have a unit square. Draw a regular pentagon or 5-point star with width 1. Then the distance between the two bottom points is 1/ϕ = (√5 − 1)/2. Connect the two points with a Line, and draw a square with that length. Then, constructing √5 is trivial.
Again, we have extended our field of view to new shapes and numbers.
Now we say: “All numbers in ℚ(√2, √3, √5) are constructible.”
And thus, the Union Jack can be drawn. The actual construction is just a repetition of right triangles and rectangles, so I will not go through the whole process here. Not only that — we can even add more numbers like cos 18° = √(10 +2√5)/4 to our repertoire, which is the ratio between the width and height of a regular five-point star.
But can we go further? Can we now draw every flag containing a five-pointed star such as that of the USA?
Indeed — and we just have to overcome one more step: Inscribed stars.
In most construction sheets, we are instructed to draw a star inscribed in a circle with a certain diameter,
which is different from just specifying the width of the star.
Thankfully, we can easily do this with the following theorem, which has a very neat proof.
Theorem 5. Given a circle, it is possible to draw an inscribed five-point star.
So, along with flags containing √5, we can now draw any flag with five-point stars, if the position and size of the star are constructible numbers!
That’s 37 more flags — we’re at 148 out of 180 (about 82 % done).
Exercise 6. 6.1 Perhaps the flag of your country can be drawn by now. If so, search up the construction sheet and draw it! (If you’re from the USA, good luck.)
6.2 It is possible to construct the square root of any given number using a straightedge and a compass. TGhat may mean Google Slides is an inferior tool in some ways, but it is superior for one thing: heptagons. Try replicating the process of Theorems 4 and 5 with a 7-point star. You will find that cos (90°/7) and sin (90°/7) are constructible — these are not constructible with a straightedge and a compass!
7. Endgame
The 32 remaining flags are quite special — drawing each of them is a head-scratching problem on its own.
They were the most interesting ones to think about while writing this essay, and I encourage you to tackle them yourself.
Thus, this last chapter will not consist of specific constructions, but of challenging exercises regarding some ideas in those constructions.
(The intended solution for Exercise 7.3 requires two applications of Theorem 5, a rotation, ten Lines, and perhaps an application of Exercise 7.1 — not trivial at all!) Imagine showing that shape to someone who has only just read Chapter 2 — they’d think it’s downright impossible.
However, now we have the power of generalisation: Any shape can be drawn if all its points have constructible coordinates. In Exercise 7.3, all ten points of the star are in some way pentagonally related with the two circles, so all coordinates of those points are some combinations of cos 18°, sin 18°, and other constructible numbers. So we can firmly declare its possibility even before finding any actual way to do it! This power of our mathematical tool is probably the most important takeaway of this essay.
Below are the rest of the flags that I found to be constructible in Google Slides. The soyombo symbol in the flag of Mongolia, the 14-point star in the flag of Malaysia, the complex 8-ray sun in the flag of Philippines… I could talk about each of them for 30 pages, but alas, as the tradition goes in math, the most interesting parts are left as exercise for the reader.
That’s 24 flags, bringing us to 172 out of 180, a whopping 96%!
The 8 remaining flags are interesting too, each with its own reason. I’m not sure if some of them can be drawn or not, and there’s a chance you may spot a breakthrough that I couldn’t find. So take the following list with a grain of saltire.
Conclusion
No, you cannot draw every flag in PowerPoint / Google Slides.
Out of 197 flags in the Sporcle list, 172 are definitely drawable, and a few are ambiguous.
I would probably put Georgia, Kazakhstan, and Kyrgyzstan in the drawable category, making our total coverage ≈ 89 % (175 / 197).
Also, we can conclude that the set of constructible numbers includes the following field:
ℚ(cos (π / 840), sin (π / 840))
This is because π / 840 = 3° / 14 ≈ 0.21°, which is the smallest angle we can get by linearly combining 18°, 90° / 7, and 360° / 48, whose cosines and sines were proven to be constructible in exercises.
Conversely, all numbers we have constructed until now are combinations of rational numbers, cos(π / 840), and sin(π / 840).
However, these answers are susceptible of improvement, as some questions in the prestigious field of Google Slide vexillology are left unanswered.
What started as a funny random question has become quite a journey through arithmetic and geometry.
Rather than just trying each flag one by one, we asked a general question — “which numbers are constructible?” — and began thinking about the properties that the set of constructible numbers maintains.
This let us more easily answer whether certain flags can be drawn or not.
This overall structure is quite similar to how a first chapter of an algebra textbook would go.
A set of numbers, fields, groups, and such are at first defined by how they behave — what property applies to the operations on them.
This groundwork is what gives way to all kinds of proofs and theorems.
Some exercises in this essay were much harder than others.
I think the most challenging and interesting problem for a math enthusiast would be the one hinted in Exercise 7.2, for it is independent of the specificity of Google Slides.
Of course, I also hope someone with a deeper understanding of Google Slides can answer our glaring open question of which square roots are constructible.
Further References
“Flags of the World,” https://www.crwflags.com/fotw/flags/— a website devoted to vexillology with decades-old insights and discussions from enthusiasts.
Austria-Forum, “Konstruktionsmuster internationaler Flaggen,”https://austria-forum.org/…/construction%20sheets%20A-Z.pdf— a construction sheet collection of 229 flags compiled by Austria-Forum. A few inaccuracies, but mostly very reliable.
Wikipedia contributors, construction sheets for various flags (e.g. United Kingdom, Malaysia, Philippines, Iran, etc.).
I really loved writing the essay! Thank you for hosting the competition and kudos to everyone who submitted!
I think this might be a good place to correct some typos and mistakes I made, so here they are:
(5p) I wrote ‘respectfully’ instead of respectively LOL
(9p) I mistakenly wrote “Angola” beneath the flag of Albania. My apologies.
(9p) The coat of arms of Croatia, Slovenia, and Tajikistan are actually not ambiguous drawings as I thought. They are mathematically defined, and thus not trivial to draw in Powerpoint.
(16p) The flag of Mauritania actually contains an oval with a complicated width and height, so it’s not trivial to draw in Powerpoint.
One more addendum: I forgot to mention, but a key difference between Powerpoint and Google Slides is that the 5- and 7-point stars in Powerpoint are not ‘regular’ stars. They have an aspect ratio of 1:1 by default, when it should actually be 1 : cos(18 deg) and so on.
Bonus question(hard): without getting any help from Google Slides, is it possible to draw a regular 5- or 7-point star in Powerpoint?
For example, if a 5-point star with 1:1 aspect ratio still contains the numbers sin(18 deg) and cos(18 deg) in the coordinates of its points, then those two are constructible numbers in Powerpoint, meaning it is possible to reconstruct a regular 5-point star.
[…] The winning essay from the 2025 Tom Rocks Maths Essay Competition has been turned into a YouTube video by the brilliant Dr Zye. You can read the winning essay here. […]
YAYYYYYY THANK YOU!!!!!
I really loved writing the essay! Thank you for hosting the competition and kudos to everyone who submitted!
I think this might be a good place to correct some typos and mistakes I made, so here they are:
One more addendum: I forgot to mention, but a key difference between Powerpoint and Google Slides is that the 5- and 7-point stars in Powerpoint are not ‘regular’ stars. They have an aspect ratio of 1:1 by default, when it should actually be 1 : cos(18 deg) and so on.
Bonus question(hard): without getting any help from Google Slides, is it possible to draw a regular 5- or 7-point star in Powerpoint?
For example, if a 5-point star with 1:1 aspect ratio still contains the numbers sin(18 deg) and cos(18 deg) in the coordinates of its points, then those two are constructible numbers in Powerpoint, meaning it is possible to reconstruct a regular 5-point star.
LikeLike
[…] The winning essay from the 2025 Tom Rocks Maths Essay Competition has been turned into a YouTube video by the brilliant Dr Zye. You can read the winning essay here. […]
LikeLike
Amazing work!!!!
LikeLike
[…] And read the winning essay here. […]
LikeLike